軸測圖立體感強、直觀性好,在工程上廣泛應用,但其尺寸標注麻煩,許多人標注不規范,根據機械制圖國家標準的規定,結合工作實踐,現闡述CAD中軸測圖的尺寸標注方法如下。
1、錯誤的標注:

這是用“線性”標注,顯然是很錯誤的。

這是用“對齊”標注,也不對。
2、正確的標注是:


正確標注的原則是:
(1)尺寸數字的方向與尺寸界線的方向一致;
(2)尺寸數字與尺寸線、尺寸界線在一個平面內。
3、標注方法:
(1)用“標注”——“傾斜”菜單命令,選中400的尺寸,捕捉長方體的端點為基點,給出傾斜的方向:

(2)確定后,尺寸界線發生了傾斜,符合了標注要求,但尺寸數字還是不正確。此時應該把尺寸數字旋轉-30度:

(3)打開“文字樣式”,新建二個新樣式,樣式名為“30”和“-30”,傾斜角度分別是+30度和-30度:


(4)選中400尺寸,將其置于-30的文字樣式中,立刻得到正確的標注:

(5)同樣用“標注”——“傾斜”菜單命令,給出傾斜方向,得到:

(6)將400文字旋轉+30度,得到正確的標注:

(7)用相同的“傾斜”和“旋轉”方法,得到寬度和高度方向的正確標注:




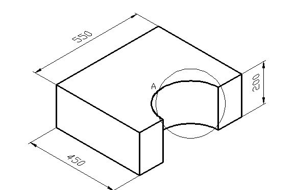
4、圓的尺寸標注:
(1)圓的軸測圖為橢圓,不能直接標注:

(2)以橢圓的中心為圓心,適當長為半徑,畫一個圓,與橢圓相交于A點:

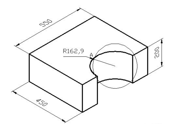
(3)標注圓的半徑,箭頭盡量靠近A點,尺寸是不對的:

(4)用ED命令修改錯誤的R162.9,改為正確的R150,并刪除標記A和輔助圓,得到正確的標注:

推薦閱讀:CAD培訓
· ZWorld2025中望全球生態大會成功舉辦:推動工業可持續創新2025-08-29
· “破壁壘,鑄未來”!中望全球生態大會信創專題論壇即將舉行2025-08-27
· ZWorld2025|共謀研發新范式:消費電子專題論壇即將舉行2025-08-27
· ZWorld2025|破解高效制造難題!中望全球生態大會機械設備行業論壇即將開啟2025-08-25
· 汽車零部件專題論壇邀您共謀破局之路2025-08-25
·? 破解提質增效難題!中望全球生態大會模具制造專題論壇即將舉辦2025-08-25
· ZWorld2025|產教協同創新論壇即將舉辦:共筑工業軟件人才培養新生態2025-08-23
· ZWorld2025|電力行業專題論壇即將舉辦:CAx+AI賦能數字化新紀元2025-08-23
·玩趣3D:如何應用中望3D,快速設計基站天線傳動螺桿?2022-02-10
·趣玩3D:使用中望3D設計車頂帳篷,為戶外休閑增添新裝備2021-11-25
·現代與歷史的碰撞:阿根廷學生應用中望3D,技術重現達·芬奇“飛碟”坦克原型2021-09-26
·我的珠寶人生:西班牙設計師用中望3D設計華美珠寶2021-09-26
·9個小妙招,切換至中望CAD竟可以如此順暢快速 2021-09-06
·原來插頭是這樣設計的,看完你學會了嗎?2021-09-06
·玩趣3D:如何巧用中望3D 2022新功能,設計專屬相機?2021-08-10
·如何使用中望3D 2022的CAM方案加工塑膠模具2021-06-24
·CAD繪制護士頭像2022-09-20
·CAD中怎么把文字變成線條2019-05-09
·在CAD軟件中進行字體添加操作的技巧2023-11-03
·CAD文件比較功能的平鋪比較失效怎么辦2025-07-15
·CAD如何實現過點偏移?2022-04-27
·CAD如何設置引線文字大小2022-02-24
·CAD怎么用快捷鍵切換圖紙2023-10-24
·CAD初學者教程:如何快速打開線寬2020-05-27




